- 2019/06/30: New link to a web site about the Elektronika MK-90
- 2021/03/20: comments to the Casio FX-7500G and the Casio FX-8000G ROM disassembly listings - stacks for commands, numeric values and subroutines
- 2021/03/05: updated disassembly listings: DVK-1 BASIC, MK-90 ROM V1.0 and V2.0 - workspace operations
- 2021/03/02: Elektronika MK-90 data formats - workspace objects
- 2021/02/18: Casio FX-8000G assembly language manual - instructions SWPM, XCHSM, XCLSM
- 2021/02/06: fixed a bug of the [DT] and [CL] keys handling in the FX-8000G ROM listing at the address &H1484, updated the ROM image file "rom0.bin" in the emulator
- 2020/10/08: BASIC+CASL language card for the PB-2000C emulator - out-of-range decimal numbers error handling
- 2020/09/24: New file: CASL language card OM-54A for the PB-2000C emulator
- 2020/09/21: PB-2000C / AI-1000 - undocumented commands
- 2020/09/10: Casio FX-700P hardware - cassette tape interface command "Carrier detected", terminology
- 2020/08/11: New project: Modification of the Elektronika MK-85
- 2020/04/10: differences between Elektronika MK-85 and Casio FX-700P - function VAL, array indexes
- 2020/04/10: Elektronika MK-85 ROM disassembly listing - comments to the expression evaluator
- 2020/03/12: Elektronika MK-85 ROM disassembly listing - revised comments to the arithmetic routines
- 2020/02/22: conversion utilities for the MK-85 emulator - utility RAM2VARS
- 2020/01/13: New document: Casio SFR-20 circuit diagram
- 2019/12/06: circuit diagram of the FA-4 interface - added CM-1 connector
- 2019/11/30: version 17 of the Elektronika MK-90 emulator
- 2019/11/29: New page: Elektronika MK-90 read-only memory cartridge
- 2019/11/21: KA1835VG4 datasheet - added diagrams
- 2019/09/07: version 49 of the Elektronika MK-85 emulator
- 2019/09/07: version 16 of the Elektronika MK-90 emulator
- 2019/07/30: Updated assemblers: μPD1007 and HD62076/μPD3055
- 2019/07/21: comments to the Casio FX-8000G ROM disassembly - file editor
- 2019/06/30: New link to programs for Elektronika MK-90
- 2019/06/15: New link to a web site FOROPLUS - calculators programmable in BASIC
- 2019/06/09: New link to a project of a memory module for Elektronika MK-90 based on STM32 microcontroller
- 2019/06/09: Copy of a book from a disappeared web site: Programmsammlung für den Casio PB1000 (in German)
- 2019/03/08: New page: How to read out the contents of a memory card using a PB-2000C
- 2019/03/02: New project: Self-made equivalent of the SB-43 interface unit for the FP-40 thermal printer
- 2019/01/14: Link update: the web site dedicated to the Elektronika MK-85 mk85.republika.pl has moved to a Facebook group "Old soviet pocket computers and calculators"
- 2019/01/13: New device: Casio FP-40 thermal printer
- 2018/12/26: New page: How to read out the internal ROM contents of an HD6305Y1 microprocessor
- 2018/11/15: Memory cartridge MPO-10 for the Elektronika MK-90 - text and tables copied from the original KA1835VG2 datasheet
- 2018/11/13: Elektronika MK-90 hardware - text and tables copied from the original KA1835VG1 datasheet
- 2018/11/11: Elektronika MK-90 hardware - text and tables copied from the original KA1835VG3 datasheet
- 2018/10/20: schematics of the Elektronika MK-90 system board
- 2018/09/12: Elektronika MK-85 - trigonometric functions with angles lower than ±1E-127 radians
- 2018/09/11: Elektronika MK-85 - LCD controller bus
- 2018/08/13: Link update: Elektronika MK-85 remake
- 2018/08/02: Elektronika MK-90 CPU board circuit diagram and wire list
- 2018/07/29: updated documents about Casio FX-602P programming part 1 and part 2
- 2018/04/10: graphics routines for an Elektronika MK-90 - bug fix
- 2018/03/09: Elektronika MK-90 hardware - text and tables copied from the original KA1835VG5 datasheet
- 2018/03/05: Elektronika MK-90 hardware - text and tables copied from the original KA1835VG4 datasheet
- 2018/02/25: The Elektronika MK-85 emulator has been ported to Lazarus
- 2018/02/24: The Casio FX-8000G emulator has been ported to Lazarus
- 2018/02/23: The Casio FX-7500G emulator has been ported to Lazarus
- 2018/02/11: New documents on the Casio FX-602P
- 2018/01/22: version 48 of the Elektronika MK-85 emulator
- 2018/01/22: version 15 of the Elektronika MK-90 emulator
- 2017/12/21: programs ramtrans and ramtran2 - improved source code portability
- 2017/09/20: New document: Casio PB-1000C CASL/COMET manual
- 2017/08/04: New file: BASIC+CASL language card for the PB-2000C emulator
- 2017/06/03: New document: partially commented PB-1000C ROM disassembly listing
- 2017/05/21: New link to a document Information and programs for the Casio FX-602P
- 2017/05/02: New images: The touch digitizer on top of the PB-1000 LCD
- 2017/03/19: New file: PB-1000C ROM image for the emulator
- 2016/12/09: comments to the Casio FX-7500G ROM disassembly - line drawing procedure &HB313
- 2016/12/09: comments to the Casio FX-8000G ROM disassembly - line drawing procedure &H0C3D
- 2016/12/03: New book: PB-1000 Technical Reference
- 2016/11/26: New book: PB-1000 Intern - fully commented Casio PB-1000 ROM disassembly (in German)
- 2016/10/07: fixed a software bug in the MD-100 compatible solid state mass storage device that corrupted large sequential files
- 2016/08/21: version 47 of the Elektronika MK-85 emulator
- 2016/07/21: differences between Elektronika MK-85 and Casio FX-700P - function MID
- 2016/07/19: Casio FX-700P memory map - locations $0120-$012F
- 2016/04/08: comments to the ROM disassembly listings - PB-1000, PB-2000C, OM-53B (variables)
- 2016/03/20: Forth for the Casio PB-1000 - fixed the EXPECT statement
- 2016/03/20: PB-1000 text screen buffer
- 2016/03/17: New documents: PB-2000C Owner's Manual and Introduction to the C programming language
- 2016/03/03: PB-1000 power supply circuit
- 2016/02/04: programming of the LCD controller chipset HD44352A01/HD44356A01, HD44353 - contrast control, differences between PB-1000/PB-2000C and FX-8000G
- 2016/01/06: comments to the Casio FX-8000G ROM listing - tape and printer routines
- 2015/12/30: circuit diagram of the FA-80 interface - switch NOR / 80 CHR
- 2015/12/22: description of the HD61710A01 interface chip - port PA and PB name assignments brought to order, serial port register bits
- 2015/12/21: comments to the ROM disassembly listings - PB-1000, PB-2000C, OM-53B (serial port, tape)
- 2015/12/08: circuit diagram of the FA-7 interface - added voltage converter and battery level indicator
- 2015/11/30: PCB layout for the MD-100 compatible solid state mass storage device
- 2015/11/26: New project: MD-100 and FA-7 compatible USB interface
- 2015/10/10: fixed a bug disturbing the REV display mode in the PB-1000 ROM listing at the address &H05C2, updated the ROM image file "rom0.bin" in the emulator
- 2015/10/01: New documents: PB-1000 Owner's Manual and PB-1000 Command Reference
- 2015/09/17: description of the HD61710A01 interface chip - serial port register bits
- 2015/04/22: New document: Casio FX-602P schematic
- 2015/04/09: New document: Casio FX-603P schematic
- 2015/03/19: version 15 of the MD-100 emulator
- 2015/02/02: New project: MD-100 compatible solid state mass storage device
- 2015/01/23: New image: MD-100 bus timing diagram
- 2014/09/27: comments to the ROM disassembly listings - PB-1000, PB-2000C, OM-53B, FX-8000G
- 2014/09/26: Description of the HD61710A01 interface chip - serial port receiving error bits
- 2014/08/27: Games for the Casio FX-8000G - Space Invaders (updated), Minotaur (new), Chess (new)
- 2014/08/26: New project: simple serial interface for the Casio FX-8000G
- 2014/08/15: fixed a bug disturbing assignments to multiple variables in the FX-8000G ROM listing at the address &H1460, updated the ROM image file "rom0.bin" in the emulator
- 2014/07/17: New document: Casio FX-702P schematic
- 2014/07/12: New program: classic arcade game "Space Invaders" for the Casio FX-8000G
- 2014/06/29: RAM chip uPD444G
- 2014/06/23: New document: Casio FX-502P schematic
- 2014/05/15: New document: Casio PB-700 schematic
- 2014/03/21: Forth for the Casio PB-1000 - included fig-Forth word set specification "glossary.txt"
- 2014/03/02: New: files to emulate a financial calculator FC-1000
- 2014/03/02: version 05 of the FX-7500G emulator
- 2014/02/15: updated ROM disassembly listings: Casio FX-7500G, Casio FX-8000G - key code tables
- 2014/02/09: New program: Casio FX-7500G emulator for Windows
- 2014/01/26: updated disassembly listings: DVK-1 BASIC, MK-90 ROM V1.0 and V2.0 - function EVAL
- 2014/01/20: version 09 of the FX-8000G emulator
- 2014/01/18: HD62076/μPD3055 manual - timer
- 2013/12/15: HD62076/μPD3055 manual - interrupts (register IE, instruction WAI)
- 2013/11/30: New calculator: Casio FX-7500G
- 2013/11/15: New program: HD62076/μPD3055 assembler
- 2013/11/11: HD62076/μPD3055 disassembler
- 2013/11/04: HD62076/μPD3055 manual - registers and instructions related to the integrated display controller (S5, S6, S7, PLA, STLM)
- 2013/09/01: New link to a PDF document: Casio PB-1000, communication with a PC and a printer
- 2013/02/12: games for the Elektronika MK-90 - added choice to turn the sound on and off
- 2012/12/28: Executing machine code on the Casio PB-2000C - fixed a bug in the loader causing longer files to be truncated
- 2012/08/17: HD61700 assembly language manual - TM register
- 2012/08/11: fixed corrupted ROM dump of the OM-53B BASIC language card, affected was the command CLOSE and leaving the BASIC interpreter
- 2012/08/10: version 47 of the PB-1000 emulator
- 2012/08/10: version 23 of the PB-2000C emulator
- 2012/08/03: HD61700 assembly language manual - Test Mode flag, instruction execution time (interrupts, internal ROM)
- 2012/07/28: version 45 of the PB-1000 emulator
- 2012/07/28: version 21 of the PB-2000C emulator
- 2012/07/28: HD61700 assembly language manual - instruction OFF, power-off state, turning the power on
- 2012/07/19: New page: PB-2000C - undocumented commands
- 2012/07/01: New program: C cross compiler for the PB-2000C emulator
- 2012/07/01: comments to the Casio PB-2000C ROM disassembly - C language compiler
- 2012/06/07: New link to a Multi Emulator Super System (MESS) for many game consoles and computer systems, including the Casio models PB-1000 and PB-2000C
- 2012/06/06: New link to a Sharp pocket computer emulator "PockEmul" which also emulates the Casio models PB-1000 and PB-2000C along with peripheral units MD-100 and FP-100
- 2012/06/03: comments to the Casio PB-2000C ROM disassembly (C language module) - lexical analyser, preprocessor, symbol declarations, arithmetic operations
- 2012/04/17: comments to the Casio PB-1000 ROM disassembly - line drawing procedure &HC477
- 2012/04/17: comments to the Casio PB-2000C ROM disassembly - line drawing procedure &H398F
- 2012/04/17: comments to the ROM disassembly of the OM-53B BASIC language card - line drawing procedure &H4054
- 2012/01/13: version 08 of the FX-8000G emulator - only small cosmetic modifications
- 2012/01/08: Elektronika MK-90 hardware - CPU board circuit diagram
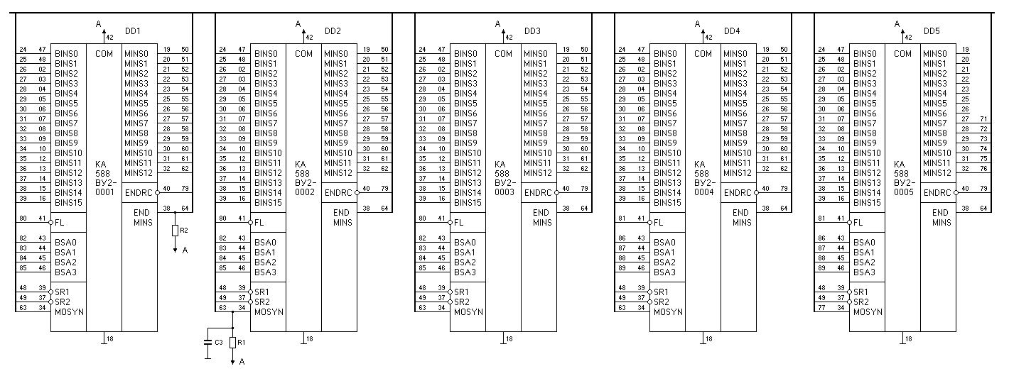
- 2011/12/29: Elektronika MK-90 hardware - original datasheets of the KA1835VG series chips, system board circuit diagram
- 2011/12/29: Memory cartridge MPO-10 for the Elektronika MK-90 - pin assignment diagram and original datasheet of the KA1835VG2 controller, circuit diagram
- 2011/11/29: comments to the MK-90 ROM disassembly BASIC 1.0, BASIC 2.0 - number conversion and arithmetic routines
- 2011/11/29: comments to the DVK BASIC ROM disassembly - number conversion and arithmetic routines
- 2011/11/02: comments to the internal ROM disassembly of the Casio PB-1000 processor - floating point arithmetic routines
- 2011/11/02: comments to the internal ROM disassembly of the Casio PB-2000C processor - floating point arithmetic routines
- 2011/10/21: version 07 of the FX-8000G emulator
- 2011/10/21: Casio FX-8000G assembly language manual - instructions NA, NAM, TNA, TNAM
- 2011/10/16: Casio FX-8000G hardware - keyboard layout
- 2011/10/15: HD62076/μPD3055 manual - indirect register access and other
- 2011/10/15: HD62076/μPD3055 disassembler
- 2011/10/15: SF-9300 diagnostic code
- 2011/10/13: New program: implementation of the classic game Tetris for the PB-1000
- 2011/09/29: New program: FX-8000G emulator for Windows
- 2011/09/29: internal ROM disassembly listing of the Casio FX-8000G microprocessor
- 2011/09/07: Casio FX-8000G assembly language manual - indirect register access
- 2011/08/31: version 43 of the PB-1000 emulator
- 2011/08/31: version 19 of the PB-2000C emulator
- 2011/08/30: programming of the LCD controller chipset HD44352A01/HD44356A01, HD44353 - cursors
- 2011/08/24: Casio FX-8000G assembly programming - instructions CMPBM, LDM, STM, register AS.
Updated files: assembly language manual, assembler, disassembler
- 2011/08/12: Casio FX-8000G assembly programming - indirect register access.
It was necessary to change the notation of indirectly specified registers.
The concept of the virtual IND register and the notation of register arrays using the first register and the number of bytes have been abandoned.
Updated files: assembly language manual, assembler, disassembler, internal and external ROM listing
- 2011/08/01: Casio FX-8000G assembly programming - instructions TRP, OFF.
Updated files: assembly language manual, assembler, disassembler
- 2011/07/25: Casio FX-8000G assembly language manual - keyboard port
- 2011/07/25: Casio FX-8000G ROM listing - self-test routine
- 2011/07/21: New file: internal ROM disassembly listing of the Casio FX-8000G microprocessor
- 2011/07/20: Casio FX-8000G assembly programming - instructions SUP, SDN, SWPM, BNUSM.
Updated files: assembly language manual, assembler, disassembler
- 2011/07/10: Casio FX-8000G assembly programming - the port ENx control register temporarily named S1 has been merged into the IF register.
Updated files: assembly language manual, assembler, disassembler, FX-8000G ROM listing
- 2011/07/02: Casio FX-8000G assembly language manual - interrupt flags in the IF register
- 2011/06/19: comments to the internal ROM disassembly of the Casio PB-1000 processor - function &H08DD (square root)
- 2011/06/19: comments to the internal ROM disassembly of the Casio PB-2000C processor - function &H071F (square root)
- 2011/05/22: Forth for the Casio PB-1000 - fixed bug in the (LOOP) command where unsigned instead of signed comparison was used
- 2011/05/06: Elektronika MK-90 - hardware
- 2011/04/13: New file: Circuit diagram of the SB-41 interface between the calculator PB-700 and the printer FP-40
- 2011/03/31: games for the Elektronika MK-90 - fixed noisy sound
- 2011/03/21: INFLATE decompressor for the Elektronika MK-90 - fixed bug in the loader
- 2011/03/21: fixed boxing game for the Elektronika MK-90
- 2011/02/23: comments to the ROM disassembly listing of the microprocessor HD6305Y1 (MD-100 interface)
- 2011/02/14: programming of the MD-100 floppy disk drive - commands &H60 (file rename) and &HD0 (free disk space)
- 2011/02/14: New file: ROM dump and disassembly listing of the microprocessor HD6305Y1, which controls the MD-100 floppy disk system
- 2011/02/10: New file: circuit diagram of the MD-100 floppy disk system
- 2011/02/06: New file: photograph of the MD-100 printed circuit board
- 2011/01/23: programming of the LCD controller chipset HD44352A01, HD44353 - added information about the chip HD44356A01 and program examples for the calculator FX-8000G
- 2011/01/14: New page: description of the HD61710A01 interface chip
- 2011/01/12: New file: circuit diagram of the FA-7 interface
- 2011/01/10: Casio FX-8000G hardware - bus waveforms
- 2011/01/09: New file: circuit diagram of the FA-80 interface
- 2011/01/04: New page: Casio FX-8000G hardware